
THE EUROPEAN STANDARDIZATION
OF CLAY
ROOFING TILES
by
Michel
Albenque
Chairman
of TC 128/SC3
December
2000
MA/ct
THE EUROPEAN STANDARDIZATION
OF CLAY
ROOFING TILES
I
- INTRODUCTION
Clay
roofing tiles have been manufactured and sold
from North to South and West to East in all European countries for
centuries.
Traditional
roofing products, clay tiles have developed
taking a lot of different shapes according to the country of
origin.
From
the South of Europe to the North of Europe, the
climatic stresses are quite different. Moreover clay tiles must give an
answer to the various requirements of the consumer according to various codes of
practice and local habits.
In
this context, one can imagine that it was not, a priori, easy for "Standard"
people to bring together, in a single document, so many different types of products and, of course, in a document which satisfies all the
European users.
However,
at the present time, clay roofing tile
standardization work -voluntary stage- is finished and the different standards
have been in application since the end of
1998.
For
clay roofing tiles, the standardization work is carried out into Sub-Committee
number 3 "Clay roofing tiles", which is a part
of Technical Committee number 128 "Roof covering for discontinuous laying and
products for wall cladding". The work was
started in 1988 with the first meeting of the Technical Committee, in
June, in Vienna, and the first meeting of the Sub-Committee N. 3 in December in
Paris.
Till
1994, TC 128 and its Secretariat were led by Austria. Nowadays, Belgium with
Mr Meert as Chairman, deals with TC 128.
From the beginning Sub-Committed N.
3 has been led in France by CTTB (Centre
Technique des Tuiles et Briques) and the Secretariat handled by AFNOR, (the
French body for standardisation).
Nearly,
all CEE and AELE countries are present in SC3, except some Scandinavian
countries.
SC3
has worked on clay tiles standards according to the directives set at the
beginning by SCI "General requirements" which, after, has watched to the
consistency of the documents prepared by the different sub-committee (SC2 to
SC10) working on the different types of roofing products.
III
- DRAFTED DOCUMENTS
More
than 20, two-day meetings have been organized,
country after country, in all represented countries. This gave the possibility
to write the five draft standards programmed by SC3. At the beginning, the
question was: What could be the frame for a
clay roofing standard, only one document or several ? The answer was that
a single document could not clearly deal with all families of tiles used to be
produced in Europe and also deal with the description of the test methods.
After
discussion, the accepted frame is :
-
a standard for the definitions and specifications of all families of European
tiles
-
three standards for test methods, one of them split into two parts as described by the following scheme.
|
Definitions
and Specifications
|
||
|
|
|
|
|
EN 538
Determination
of Flexural strength test |
EN
539
Determination
of physical characteristics |
EN
1024
Determination
of geometric characteristics |
|
|
||
|
Impermeability
test |
Frost
resistance |
IV
- TECHNICAL CONTENTS
A
clay tiles roof shall be :
-
watertight
-
durable
-
pleasant to look at
-
easy to built
and
shall present a good security in normal conditions of use.
Of
course, these requirements are fulfilled only when the roof is built according
to the Code of Practice and with products that fulfil the standard requirements.
Figure 1 illustrates the links between product
characteristics and the requirements for the roofs.
When the list of the clay tiles characteristics involved in the behaviour of the roof was known, the remaining work was to draft the test method and to fix the level of the requirements.
The
schemes enclosed illustrate the principle of the test methods
:
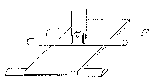
EN
538 Flexural
strength test consists of a verification of
the ability of the product to resist a centred load when subjected to flexion on
two simple bearers (figure 2)
EN
539-1 There ore two impermeability tests
:
Method
1
(principle figure 3)
Determination
of the amount of water passing in 48 hours through the ceramic body of the tile.
Method
2 (principle figure 4)
Determination
of the length of time until drops of water start to fall, following the
application of water to the surface of the tile.
EN
539-2
Concerning
frost testing, according to the number of different methods in use at present in
Europe and according to the various principles of the methods (unidirectional or
multidirectional frost stress, imbibition under vacuum or at atmosphere
pressure, frost of individual products or of complete roof), it has not yet been
possible to state a single pan-European method.
So,
the present draft describes four methods to use in accordance with a geographic
zone (figure 5).
TECHNICAL
CONTENTS
|
REQUIREMENTS FOR THE
ROOF |
STANDARDIZED
CHARACTERISTICS
OF THE CLAY |
|
WATERTIGHT |
ú
Impermeability ú
Twist ú
Camber ú
Dimensional Characteristics |
|
SECURITY
IN USE |
ú
Flexural strength |
|
EASINESS
OF INSTALLATION
|
ú
Fixing provisions ú
Structural characteristic ú
Dimensional tolerances |
|
ASPECT |
ú
Aspect characteristics |
|
DURABILITY |
ú
Frost resistance |
Figure
1
NF
EN 538 - FLEXURAL STRENGTH TEST
Figure
2 - Test principle
539-1

|
|
(dimensions mm)
Figure
3
NFEN
539-1
IMPERMEABILITY
- Method 2
IC
= ![]()
x
=
Drop time of the first drop
Figure
4
NFEN
539-2
FROST
RESISTANCE
![]()

Figure 5 - Geographic areas of
use
These
four methods derive from respectively four national methods
:
-
Benelux method Method A
-
German method Method B
-
French method
Method C
-
British method
Method D
The
principle of these four methods remains the same ; it comprises of a soaking by water and the realisation of a
certain number of freeze thaw cycles.
The
differences between them consist of :
-
a more or less important water saturation
-
velocity of the degrees of temperature
decreasing during ice formation
-
number of cycles
-
unidirectional or multidirectional frost
stress
Methods
A and C specify a saturation under vacuum and a little number of cycles
(respectively 24 and 50), methods B and D specify saturation at atmospheric
pressure and a great number of cycles (respectively 150 and 100).
EN
1024
This
standard describes the procedure to use to measure the geometric
characteristics. These comprise
of:
-
the dimensions (individual or overlap dimensions for interlocking tiles)
-
the camber
-
the twist
-
uniformity of the transverse
profile of over and under tiles.
EN
1304
This
standard gives precise definitions of the different families of European clay
roofing tiles.
-
overlapping tiles
-
plain tiles
-
tiles with side lock and headlock
-
tiles with side lock only
-
over and under tiles
-
flat interlocking tiles
-
clay roofing fittings
It
specifies the requirement for :
-
appearance and structure
-
dimensional tolerances
-
uniformity of the transverse profile of over
and under tiles
-
camber (*)
-
twist
(*)
Camber is determined as a relative
variation between the arrow measured and the arrow declared by the manufacturer.
This
allows the manufacturer to propose to the user tiles with special cambers.
For
special tiles and fittings only few requirements apply.
V
- EVOLUTION OF THE CLAY ROOFING TILES STANDARDS
- CE MARKING
To
transform EN 1304 into an h EN1304 (harmonised standard) TC 128/SC3 shall fulfil
three tasks
:
1°)
Revise the voluntary part to make some requirements clearer (e.g. structural and surface faults) and
to introduce some type of tiles which are not yet within the scope (e.g. over
and under tiles with lugs).
2°) Revise the two standards EN 539-1 and
EN 539-2 to propose a unique
pan-European method in both cases for impermeability and frost testing.
3°)
Write the annexes ZA corresponding to the harmonised part of the standard in
both cases to
answer the requirements of mandate M/121 (Cladding) and mandate M/122 (Roofing).
At
present :
1°)
During its last meeting (June 2000), TC 128/SC3 agreed on a revised version of
the voluntary part of EN 1304.
2°)
A working group of TC 128/SC3 deals with both tests method
-
Impermeability
There
is reasonable hope in succeeding on getting a single
test method based on the drop method amended to :
-
give a good correlation with the volumetric method, which it is not the case at
present.
-
give a good sensitivity on low values of impermeability which is not the case at
present.
-
Frost testing
An
important study is currently in progress to develop a single method, or a system of methods, comprising three levels of severity
-
light
-
moderate
-
severe
The
three levels could be based on a number of cycles to fulfil.
This
study consists of two parts
:
- A practical study
Five
experimental roofs have been erected in five European countries
:
BELGIUM
(severe
SWITZERLAND
(climate
ITALY
(moderate
FRANCE
(climate
PORTUGAL
(light climate
Some
tiles are equipped with sensors to record temperature variations and express the
velocity of decreasing temperature and the
difference in temperature between the tile
faces when the ice is forming.
Tiles
are weighed regularly, so it is possible to know the water saturation when frost
occurs.
-
A study in lab
This
part consists on developing a test method according to the recordings made on
the experimental roofs.
It
is hoped to finish the study getting a draft method at the end of the year 2001.
3°)
Writing Annexes ZA
According
to both mandates, the harmonised standard shall deal with the following
characteristics.
M/121
( Cladding)
M/122
(Roofing)
-
Reaction to fire
- Reaction to fire
-
Dangerous substances
- External fire resistance
-
Impermeability
- Dangerous substances
-
Durability (frost resistance)
- Mechanical resistance
- Dimensional tolerances
- Impermeability
- Durability (frost resistance)
An
example of en Annex ZA is given hereafter.
|
Performance
characteristic |
Requirement
clauses in this standard |
Mandated
levels and/or classes |
Notes |
|
Reaction to
fire |
xxx |
Class
A1 |
|
|
External fire
resistance of the roofs |
yyy |
See list of
satisfying products without test |
|
|
Radioactivity
emission |
zzz |
- |
|
|
Flexural
strength |
5.4.2 |
Declaration
|
|
|
Impermeability |
5.4.1. |
Declaration
|
|
|
Dimensional
tolerances |
5.3.3 |
Declaration
|
|
|
Durability
(Frost
resistance) |
5.4.3 |
Acceptable or
|
|
Clay roofing tiles
Annex ZA to EN 1304
according to M/122
mandate
VI
- TASKS OF THE MANUFACTURER IN RELATION WITH CE MARKING
As
for clay roofing tiles, the level of attestation of conformity is 4. The tasks
of the manufacturer in relation with CE marking are :
à
Realisation,
by himself or in an external laboratory, of the type tests (according to the
normalised test methods),
à
Organisation by himself of a Quality production control : either by monitoring
the raw materials, as well as the production or testing products.
-
CE Marking
The following information and characteristics shall accompany the CE marking symbol :
-
Name and address of the manufacturer
-
Last two digits of the year of CE Marking
-
Dimensional tolerances (could be a declared value or satisfactory (*))
-
The frost resistance (past/fail level (*))
-
The impermeability (could be a declared value or satisfactory
(*))
-
The flexural strength (could be a declared value or satisfactory (*))
These
declarations, as far as we know at present, will meet the requirements of the CE Marking.
If
the manufacturer wants to declare his production fulfils the requirements of the
voluntary part, he will have to also
declare:
-
Dimensions
-
Arrow (to control camber).
VI
- CONCLUSION
For
clay roofing tiles, European standardization
has been an interesting exercise in which European
manufacturers took part with, perhaps, a certain reserve at the beginning. But confidence grew when
people met after many times and the work became easier and, could we say,...
amusing.
The
end of the story is planned for April 2003, which means the adoption of
EN 1304 as an h EN.
We
can hope on getting a revised EN 539-1 with a single method for
impermeability
testing in 2001 and an EN 539-2 with a single test method or system in 2002, so
the bet will be won.